産品分類
聯系方式
銷售熱線:
18513000801(微信同步)
13901132645(微信同步)
郵箱:wangguijiang@bjguancheng.com
地址:
北京昌平區北七家鎮宏翔鴻企業孵化基地C座104室
GCD300系列射頻物位開關

所屬分類:産品中心
關鍵詞: GCD300系列射頻物位開關
産品特點
GCD300系列電容式物位開關采用先進的電容技術,客服了相關于射頻導納開關不能消除導電挂料影響的缺陷。儀表運行可靠,各項技術指标均達到國際同類産品水平,廣泛适用于液體、漿體、粉塵、料位以及超高溫物料報警與控制。此外,産品增加了現場工作狀态指示,是一種性能價格比極高且相當穩定可靠的物位開關。
應用領域
GCD300是一種極限物位傳感器,帶部分絕緣的電容電極,用于極限物位的測量。可用于工業過程中的所有領域,主要用于固料領域。但限位開關也可用于液體,典型的應用爲溢流和幹運動保護。電容測量原理對安裝沒有提出過多要求,因此可以給更多應用場合裝備。
工作原理
測量電極、介質和容器組成一個電容器。電容器的電容主要受三個因素影響。
功能原理——闆電容電極:
1、電極表面距離
2、電極表面大小
3、電極之間的電介質類型
即:電極和容器壁是電容器極闆,介質爲電解質。因受到介質相對于空氣的更高介電常數影響,電容器的電容随電極的覆蓋度上升而增加,電容的變化被電子插件轉換成一個開關指令。
外型尺寸
GCD300系列由以下組件組成:
● 儀表罩蓋
● 外殼帶電子部件
● 過程連接與電極
1、外殼罩蓋;2、外殼,帶電子部件;3過程連接;4、保護電極;5、測量電極
供電
GCD300系列是一體式的儀表,不需要連接另外的計算儀表。一體式的電子部件分析計算物位信号,并提供開關信号。這個開關信号可以直接控制後面連接的設備(比如:報警系統,DCS或泵等等)。GCD300系列的供電電壓見“選型表”
靈敏度調節
測量電極可以通過電子部件适應介質的介電常數。可以在測量電極被覆蓋或測量電極未被覆蓋時給出開關信号。在電子部件上可以找到以下顯示和調整元件:順時針調節靈敏度增大,逆時針調節靈敏度降低。當調到紅綠轉換時,靈敏度最高。
● LED顯示燈用于顯示開關狀态(綠色/紅色)
● 用于調整開關點的電位計
潮濕環境
适用建議的連接電纜,并擰緊電纜入口。爲了防潮必使電纜入口前面的連接電纜向下。這樣雨水和冷凝水就可以順着垂下的電纜滴下來。這一點對應露天安裝或安裝在潮濕的的地方(比如:用水清洗、加熱或冷卻)很重要。
防潮潮氣侵入措施
如果在容器蓋上出現冷凝水,流下的液體會形成橋接由此導緻電路故障。因此請使用一根屏蔽管或一個較長的絕緣管。其長度與冷凝量和介質流動情況而定。
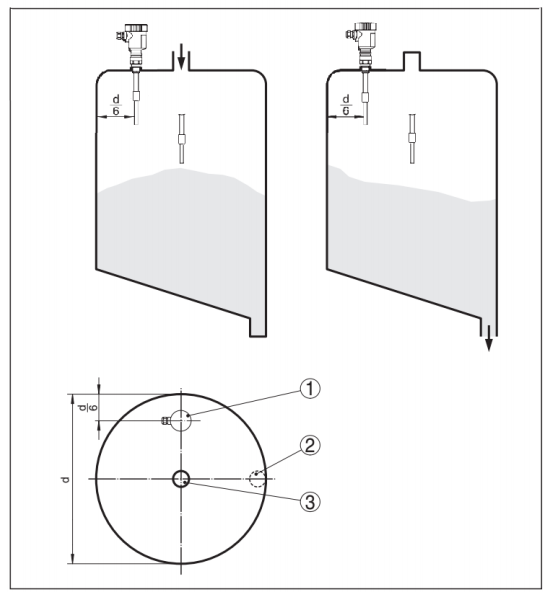
安裝位置
如果儀表被安裝在填充流中,這會導緻測量誤差現象。因此請将安裝儀表在不受來自填充孔幹擾影響的位置。
如有按裝短管時,需将保護電極探出安裝短管,避免安裝短管存有集料導緻儀表誤動作在固料的料倉中會形成錐型料堆,它會改變開關點。因此安裝過程中請注意此點。故建議選擇一個測量電極可測到錐形料堆的平均值得安裝位置。
必須根據容器中填料口和排空口的布局而相應的安裝。爲了在圓柱容器中補償因錐形固料造成的測量錯誤,必須離開容器壁d/6的距離安裝儀表
電氣連接
訂貨選型表
在線留言